
时间:2024-12-14 来源:网络 人气:

随着电子商务的蓬勃发展,分销系统已成为企业拓展市场、提升销售业绩的重要工具。为了更好地理解和应用分销系统,本文将深入解析分销系统的流程图,帮助读者优化业务流程,提升运营效率。

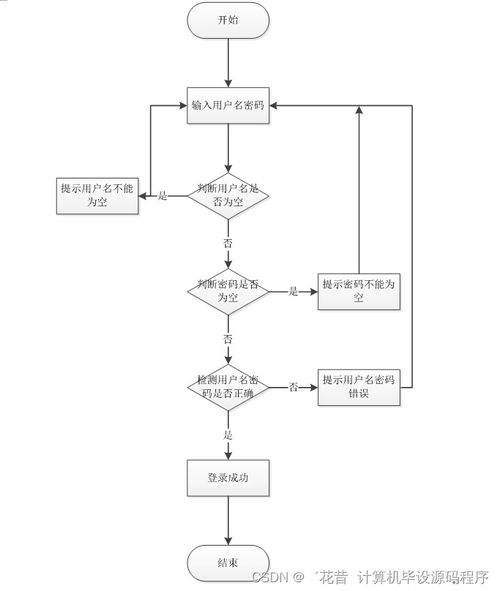
分销系统是指企业通过建立分销网络,将产品或服务销售给终端消费者的系统。它通常包括供应商、分销商、零售商和消费者等角色。分销系统流程图能够清晰地展示这些角色之间的互动关系和业务流程。

分销系统流程图主要分为以下几种类型:
数据流程图:用于描述系统中数据流动和处理过程,帮助理解系统的功能以及数据的输入、输出和存储。
状态迁移图:用于梳理业务对象的不同状态及其迁移关系和触发条件,如订单的状态迁移。
过程流程图:用于描述和分析业务流程、工作流程或系统操作,展示流程的各个步骤及其顺序。
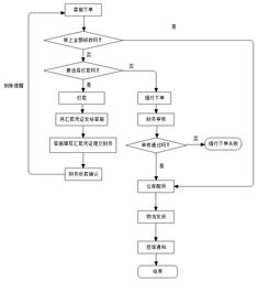
泳道流程图:用于描述和分析跨部门或跨职能流程,清晰地展示各方在整个流程中的角色与责任。
工作流图:用于描述工作流程和业务过程,显示任务的顺序、参与者的角色以及流程的执行情况。

分销系统流程图在以下场景中具有重要作用:
需求调研与分析:通过流程图,企业可以明确分销系统的开发目的和目标,及时收集并分析各方需求和反馈。
系统设计与架构:流程图有助于设计并构建分销系统的功能模块和系统结构,考虑用户体验、安全性和可维护性等因素。
系统开发与测试:流程图可以帮助开发人员理解业务操作复杂性和交互性,确保系统功能模块的合理布局和代码维护。
业务流程优化:通过流程图,企业可以识别业务流程中的瓶颈和问题,优化流程,提升运营效率。
培训与沟通:流程图可以直观地展示分销系统的运作方式,有助于新员工快速上手,提高团队协作效率。

ActiveFlow是一个基于JavaScript的开源库,可以将静态的流程图转化为动态、交互式的模型。其主要特性包括:
动态渲染:实时更新流程图状态,如任务完成状态、流程当前位置等。
用户交互:支持用户通过点击、拖拽等方式与流程图进行交互,如切换步骤、启动或停止流程等。
自定义节点和连接线:开发者可以定义自己的节点样式和连接线样式,适应不同应用场景。
事件处理:提供丰富的事件机制,允许开发者在流程图的特定操作时执行自定义代码。
可扩展性:良好的模块化设计,方便添加新功能或与其他库集成。
分销系统流程图是企业优化业务流程、提升运营效率的重要工具。通过深入解析分销系统流程图,企业可以更好地理解业务运作,识别问题,优化流程,提高团队协作效率。同时,利用ActiveFlow等动态流程图工具,可以使流程图更加直观、易于理解,助力企业实现业务目标。