
时间:2024-11-09 来源:网络 人气:

企业资源规划(ERP)系统是一种集成管理软件,旨在通过统一平台整合企业各部门的资源与信息,实现资源的优化配置和流程的自动化。本文将详细介绍ERP系统的定义、发展历程、核心功能、实施过程、面临的挑战及未来趋势。

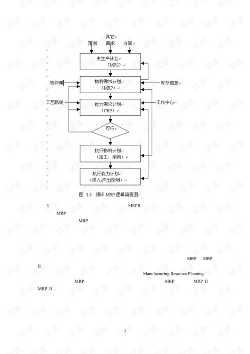
ERP系统起源于20世纪60年代的物料需求计划(MRP),随后逐渐发展壮大。在90年代,随着信息技术的发展,ERP系统开始融入财务、供应链、生产、销售与客户关系和人力资源管理等多个领域。ERP之父J·奥尔森在1975年提出的MRP概念为ERP系统的诞生奠定了基础。随后,德国软件公司SAP推出的R/3系统使得ERP概念得以广泛传播。

ERP系统具有以下核心功能:
财务管理:包括会计、预算、成本控制等。
供应链管理:包括采购、库存、物流等。
生产管理:包括生产计划、物料需求计划、车间管理等。
销售与客户关系管理:包括销售订单、客户服务、市场管理等。
人力资源管理:包括招聘、培训、薪酬管理等。

ERP系统的实施过程包括以下步骤:
需求分析:明确企业对ERP系统的需求。
选择供应商:根据需求分析结果,选择合适的ERP系统供应商。
系统设计:根据企业实际情况,设计ERP系统的架构和功能。
数据迁移:将现有系统中的数据迁移到ERP系统中。
培训与测试:对员工进行ERP系统操作培训,并进行系统测试。
上线与维护:将ERP系统正式上线,并持续进行维护和优化。

ERP系统在实施过程中可能面临以下挑战:
高昂的成本:包括软件购买、实施、培训等费用。
复杂的过程:实施ERP系统需要经历多个阶段,过程复杂。
用户抵触心理:员工可能对新的系统产生抵触情绪,影响实施效果。
数据安全问题:企业数据在迁移和存储过程中可能面临安全风险。

随着云计算、人工智能和大数据等技术的发展,ERP系统将呈现以下趋势:
云计算的普及:ERP系统将更多地采用云计算技术,降低企业成本。
人工智能与大数据的结合:ERP系统将利用人工智能和大数据技术,提高决策支持能力。
移动化管理:ERP系统将支持移动设备访问,提高管理效率。
行业特化解决方案:ERP系统将针对不同行业的特点,提供定制化解决方案。

成功实施ERP系统的关键因素包括:
高层支持:企业高层领导对ERP系统的重视和支持。
明确目标:明确ERP系统的实施目标和预期效果。
充分培训:对员工进行充分的ERP系统操作培训。
持续的反馈与改进:对ERP系统进行持续的优化和改进。
ERP系统在提高企业运营效率和支持决策中发挥着重要作用。企业应充分认识ERP系统的价值,积极应对实施过程中的挑战,确保系统的成功运行,以实现企业的可持续发展。